 
                         
                         
                             
                            Jet de aer precis si foarte silentios
Economie de energie
Siguranta in utilizare
- Conformitate : ROHS
- Presiune maxima de lucru : 10 bar
- Temperatura minima de lucru : -15 ⁰C
- Temperatura maxima de lucru : 50 ⁰C
- Corp : alama nichelata
- Catalog pistoale de suflat : Deschide
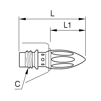
| Cod | C | L mm | L1 mm | Stoc | Cerere oferta | 
|---|---|---|---|---|---|
| 0690 08 00 | M12x1,25 | 47,5 | 26 |  | Adauga | 
 
                 
                     
 
                 
                 
                 
                 
                         
                        